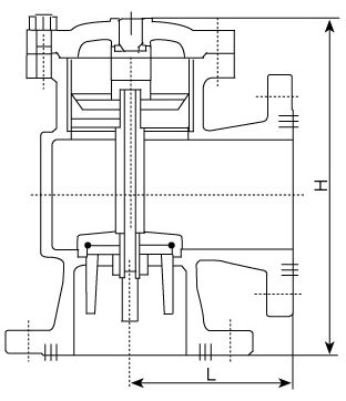
上海閩太消防設備有限公司主要銷售【H142X液壓水位控制閥】,是目前國內較大的《水力控制閥》在線銷售服務商。公司集成優質的角式液壓控制閥生產廠家,提供售前、售中、售后一站式服務。公司常年備有大量水力控制閥現貨庫存,為用戶提供閥門選型、原理作用、結構尺寸、安裝說明、資料下載等。 H142X液壓水位控制閥原理作用: H142X液壓水位控制閥是一種自動控制水箱、水塔液面高度的水力控制閥。當水面下降超過預設直時,浮球閥打開,活塞上腔室壓力降低,活塞上下形成壓差,在此壓差作用下閥瓣打開進行供水作業;當水位上升到預設高度時,浮球閥關閉,活塞上腔室壓力不斷增大致使閥瓣關閉停止供水。如此往復自動控制液面在設定高度,實現自動供水功能。 當水池或水塔內水位下降,浮球閥開啟排水時,進水管內有壓水將閥內活塞托起,密封面打開,閥門即開啟供水,當水位上升到控制閥時,浮球閥關閉,活塞下移將密封面封閉,閥門即停止供水。 H142X液壓水位控制閥性能特點: ①小浮球導閥操作、液壓控制主閥直接動作型; ②主閥通道全流量設計、水頭損失小; ③主閥體與控制導閥可組合或分離安裝; ④控制導閥適用于任何口徑的主閥體。 H142X液壓水位控制閥技術參數: H142X液壓水位控制閥部件材質: H142X液壓水位控制閥外形尺寸: 
DN | 40 | 50 | 65 | 80 | 100 | 125 | 150 | 200 | 250 | 300 | 350 | L | 107 | 115 | 125 | 135 | 146 | 165 | 180 | 215 | 255 | 285 | 325 | H | 235 | 243 | 258 | 280 | 307 | 358 | 400 | 490 | 576 | 663 | 750 |
H142X液壓水位控制閥使用說明: ①水力控制閥應采用一備一用安裝方式,避免水力閥故障后系統不能正常運行; ②水力控制閥的進水端應加裝過濾器,防止因雜質顆粒的堵塞而引起水力閥失靈; ③水力控制閥一般應水平安裝,安裝時介質的流向必須與水力閥上箭頭方向一致; ④水力控制閥安裝時,應在其前后兩端加裝關斷閥,方便后續水力控制閥的維護; ⑤水力控制閥管段不應有氣堵、氣阻現象,在管網較高位置等存氣段應加裝排氣閥; 安裝示意圖: 
|